surfcom touch

fujiseimitsu
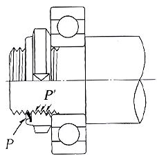
FINE U-NUT

The FINE U-NUT is a one piece item where the locking function is performed by a spring peened into the top of the nut. In use the spring bears on the flank of the shaft thread with force. P generating reaction force P'in the screw threads with a resulting high friction torque (prevailing torque). The nut therefore remains locked in position.

Ask for price

Features

surfcom touch
  • LABOUR SAVING--Machining of a shaft keyway is eliminated.
  • SIMPLIFIES ASSEMBLY--No tab washer is required reducing costs and removing possibility of the tab washer being incorrectly installed.
  • WORKABILITY--No skill or technique is required for assembly.
  • FUNCTIONALITY--Fine adjustments are easily achieved to obtain optimum bearing assembly.
  • SHAFT BALANCING--Lack of keyway and design of nut ensures shaft is perfectly balanced.
  • WEIGHT SAVING--Thinner wall hollow shaft can be used compared to those where a keyway us required thereby saving weight.
  • REUSABLE--The FINE U-NUT can be re-useable.
  • ECONOMICAL EFFICIENCY--Invisible costs are reduced and total cost reduction is achieved.